Antenna Design, Monopole
Antenna
I. Theory
1. Monopole Structure

Figure: A monopole antenna (left) versus a dipole antenna (right)
- Lower half arm of the dipole is replaced with a perfect electric conductor (PEC).
- It is also called an antenna
ground plane.
- A device case or platform
often serves as an antenna ground plane.

Figure: A device case or chassis can be used as an antenna ground plane.
2. Image Theory

Figure: Image principles.
- Find the field due to a current radiating above an infinite PEC ground
plane
- Remove the PEC ground plane.
- Place an image current.
- The field above the ground plane is a
sum of the fields due to the current and its image.
- The field below the ground plane is zero.
3. Monopole Impedance and
Radiation Pattern

Figure: Current on a monopole fed by a coaxial cable.
- The current on the ground plane flows in the radial direction.

Figure: Voltage and current on a dipole (left) and a monopole (right)
- Input impedance of a monopole is one half of the dipole input impedance.
![]()
![]()

Figure: Directivity patterns of a dipole (blue) and a monopole on an
infinite ground plane (red)
- Directivity of a monopole on an infinite ground plane is twice that of a
dipole.
![]()
![]()
![]()

Figure: Relative directivity patterns of a monopole on an infinite ground
plane

Figure:
Normalized directivity patterns of a quarter-wave monopole on a circular ground
plane of radius a. (a) a = 1¥ë, (b) a = 2¥ë, (c) a = 6¥ë,
(d) a = 10¥ë, (e) a = 20¥ë. From Z. Zivkovic et al., "Radition
pattern and impedance of a quarter wavelength monopole antenna above a finite
ground plane", Proc. IEEE 20th Int. Conf. Software, Telecomm. Comp.
Networks, 2012, pp. 1-5.
- Even with a large
ground plane, it is difficult to completely block the field in the lower
hemisphere.
- In the above figure, with a 40-¥ë diameter ground plane, the field behind the ground plane is
reduced by only 9 dB.
4. Various Forms of The Monopole
Antenna
4.1 Sleeve Monopole
- Enclose the base of the monopole with a conducting
cylinder.
- Banwidth is greatly increased.

Figure: Sleeve monopole structure. From W. L. Week, Anenna
Engineering, McGraw-Hill, 1968.

Figure: Principles of the bandwidth extension in the sleeve
monopole
- Sleeve can be of open type.

Figure: A cross-T-wire top-loaded open-sleeve monpole.
Dimensions (in ¥ë): driven element
0.13, top-loading element 0.035, sleeve 0.09-0.11 (tuning), driven element to
sleeve 0.049, wire radius 0.0075. From L. J. Ying and G. Y. Beng,
"Characteristics of broadband top-loaded open-sleeve monople", IEEE
AP-S Int. Symp. Dig., 2006, pp. 635-638
4.2
Monpole with Radials
- Groun plane is realized usign quarter-wave radials.

Figure: A monopole with radials (left) and its directivity
pattern (right). From www.kingscountyradioclub.com
Figure:
A VHF monopole with three radial wires. From Wikipedia.

Figure:
A MF broadcast monopole antenna with radials buried in the earth. 0.53-1.6 MHz,
50-1500 kW. From Wikipedia.


Figure: An array of sleeve monopoles for the TCI 802 DF
system operationg at 0.3-30 MHz. From www.tcibr.com
4.3 Shortened Monopoles
- Monopole length reduction methods
Base
inductive loading
Middle
inductive loading
Top
capacitive loading
Top
capactive and inductive loading

Figure: Monopole length reduction techiques. From webclass.org/k5ijb/antennas/Vertical-antennas.htm.
- Whip antenna: Use a wire of helical
shape for size reduction
- Also known as
(aka) a normal mode helical antenna.

Figure: Whip antennas for (a) 315/433 MHz short range radio [www.embien.com] and
(b) 46/49 MHz wireless telephone [L. Huiteman,
Progress in Compact Antennas, Chapter 1 Compact Antennas – An Overview]
4.4
Compact Monopole Antennas
1) Meander monopole

Figure:
Meander monopole in a USB Bluetooth dongle. From www.qsl.net/kk4obi/
2) ILA
(Inverted L Antenna)

Figure: Inverted L antenna (ILA) [L. Huiteman, Progress in
Compact Antennas, Chapter 1 Compact Antennas – An Overview]
3) IFA (Inverted F Antenna)

Figure: Inverted F antenna (IFA) [L. Huiteman, Progress in
Compact Antennas, Chapter 1 Compact Antennas – An Overview]
-
Printed IFA

Figure:
Printed inverted F antenna. MIMO antenna (left) and (b) USB dongle Bluetooth antenna
4.5 Planar Monopole

Figure: Planar monopole antenna. From N. P. Agrawall et al., "Wide-band planar antennas",
IEEE Trans. Antennas Propagat., 46(2), 294-295, 1998.

Figure: A wideband plate monopole.
4.6 3D Monopole


Figure: Various 3D monopole shapes
4.7 Low-profile Monoples
- Small height
Figure: Liu antenna, 425-615 MHz, D = 91 mm, H = 60 mm

Figure: Elsherbini antenna, 0.9-6 GHz, D = 120 mm, H = 17.5 mm

Figure: Goubau antenna, 430-900 MHz, D = 123 mm, H = 43 mm
(d) Nakano antenna, 1-15GHz, D=40mm/H=10mm

(e) Best antenna, 0.55-1.27GHz, D=123mm/H=43mm

(f) Friedman antenna, 325-625MHz, , D=184mm/H=65mm

(g) Ravipati, 0.5-2.7GHz, D=123mm/H=43mm
±×¸²: ³ôÀ̰¡ ÀÛÀº 3Â÷¿ø ¸ð³ëÆú
¤· Conical monopole/Monocone antenna

±×¸²: 2-14MHz HF´ë¿ª Åë½Å¿ë ¿ø»Ô ¸ð³ëÆú[Ma & Spies(]. l = 30.6m, a =
0.001m, ¥è0 = 45¨¬,


±×¸²: 1.6-30MHz HF monocone antenna, ASC Signal Type 1794
Series GRANGERTM. 2:1, 40kW-avg, 160kW-peak. Long-range
communication via skywave. Short-range communication via groundwave. Low-angle
radiation patterns
10) Discone ¾ÈÅ׳ª: disc + cone
- Disc´Â Á¢Áö¸é ¿ªÇÒ, coneÀº ¸ð³ëÆú ¿ªÇÒ
- Å©±â°¡ Å« °æ¿ì (ÀúÁÖÆÄ¿ë) ¹«°Ô¸¦ ÁÙÀ̱â À§ÇØ ±Ý¼Ó¸éÀ» wire·Î ´ëü
- LF ´ë¿ª(3-30kHz) ´ë¿ª¿¡¼´Â Áö¸é¿¡ ¼³Ä¡

(a) Zhang, 3-10GHz
(b) HYS Co., 0.1-1.1GHz, D=960mm/H=1230mm

(c) Satimo Co., 100-500MHz, D=750mm/H=700mm (d) Telewave
Co., 118-2300MHz, D=724mm/H=1092mm
(e) AOR Co., 0.7-6GHz, D=133mm/H=232mm
±×¸²: µð½ºÄÜ ¾ÈÅ׳ª
- VLF, LF ´ë¿ª ¼Û½Å ¾ÈÅ׳ª: Àå°Å¸® ÁöÇ¥¸éÆÄ Åë½Å, Áö»ó-¼±¹Ú/Áö»ó-Àá¼öÇÔ Åë½Å, Loran-C Ç×¹ý

±×¸²: VLF ¼Û½Å ¾ÈÅ׳ª
- ´ÙÀÌÆú°ú discone ¾ÈÅ׳ªÀÇ °áÇÕ

(a) Apex Radio Co., 70-3000MHz, D=630mm/H=1040mm (b) Vimer Co., 25-3000MHz, D=840mm/H=1700mm

(c) Discone(10-30MHz) + cage dipole(3-12MHz) on the USS Iowa
±×¸²: µð½ºÄܰú ´ÙÀÌÆúÀÌ °áÇÕµÈ ¾ÈÅ׳ª
1. ¸ð³ëÆúÀÇ ±¸Á¶
¤· ¸ð³ëÆú(monopole) ±¸Á¶: ¾Æ·¡ ±×¸²°ú °°ÀÌ ±æÀÌ L/2 µ¿ÀÛ Á֯ļö¿¡¼ 1/4 ÆÄÀå¿¡ °¡±î¿î °¡´Â µµ¼±À» ¿ÏÀüµµÃ¼(PEC) Á¢ÁöÆÇ¿¡ ¼öÁ÷À¸·Î ¼³Ä¡ÇÏ°í °£±Ø(gap) g/2 »çÀÌ¿¡ Àü¿ø Àΰ¡
L/2 = ¸ð³ëÆú µµ¼± ±æÀÌ, d = ¸ð³ëÆú µµ¼± Á÷°æ, g/2 = ¸ð³ëÆú°ú Á¢ÁöÆÇ °£±Ø
D = Á¢ÁöÆÇ Á÷°æ, t = Á¢ÁöÆÇ µÎ²²

±×¸²: ¸ð³ëÆú ±¸Á¶
II. ¿¬½À¹®Á¦
1. ¼öÁ÷ ´ÙÀÌÆúÀ» ÀÌ¿ëÇÏ¿© ¿µ»óÀÌ·ÐÀ» ¼³¸íÇ϶ó.
2. ¼öÆò ´ÙÀÌÆúÀ» ÀÌ¿ëÇÏ¿© ¿µ»óÀÌ·ÐÀ» ¼³¸íÇ϶ó.
3. 1/2-ÆÄÀå ´ÙÀÌÆú°ú 1/4-ÆÄÀå ¸ð³ëÆú¿¡ ´ëÇØ
1) ±¸Á¶¿Í ±ÞÀüÁ¡ µµ½Ã
2) ÀÔ·Â ÀÓÇÇ´ø½º ºñ±³
3) ÁöÇâµµ ºñ±³
4. ¹«ÇÑ Æò¸é Á¢Áö¸é À§¿¡¼ µ¿ÀÛÇÏ´Â ¸ð³ëÆú ¾ÈÅ׳ª¿Í À¯ÇÑ Æò¸é Á¢Áö¸é À§¿¡¼ µ¿ÀÛÇÏ´Â ¸ð³ëÆúÀÇ ¹æ»çÆÐÅÏÀ» ºñ±³Ç϶ó.
5. ´ÙÀ½ ¾ÈÅ׳ª Çü»óÀ» µµ½ÃÇ϶ó.
1) Monopole with radial ground
2) T-antenna
3) Inverted-L antenna
4) Inverted-F antenna
5) Plate monopole
III. ½Ç½À
1. ¿ä¾à
¤· ¹«ÇÑÁ¢Áö¸é + ¼öÁ÷ 1/4 ÆÄÀå ¸ð³ëÆú
¤· ¹«ÇÑÁ¢Áö¸é + ¿ª LÇü ¾ÈÅ׳ª
¤· ¹«ÇÑÁ¢Áö¸é + ¿ª FÇü ¾ÈÅ׳ª
¤· Ư¼ºÈ®ÀÎ: ¹Ý»ç°è¼ö, ÀÔ·ÂÀÓÇÇ´ø½º, À̵æÆÐÅÏ, ÆíÆÄƯ¼º
2. ½Ç½À
2.1 Áغñ
1) ¾ÈÅ׳ª ±¸Á¶

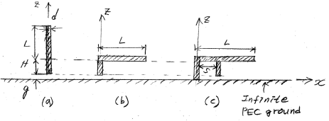
±×¸² L4.20 (a) ¼öÁ÷ ¸ð³ëÆú, (b) ¿ª LÇü ¾ÈÅ׳ª, (c) ¿ª FÇü ¾ÈÅ׳ª ½Ç½À ±¸Á¶
(Ä¡¼ö: d = 4mm, H = 30mm, L = 60mm, S = 4mm(°¡º¯), g = 1mm, Discrete port (= delta gap source) Àü¿ø »ç¿ë
2) °øÁøÁ֯ļö °è»ê
- ´ÙÀÌÆú ±âÁØÀ¸·Î ±æÀÌ ´ë Á÷°æ ºñ: 2¡¿(30+60)/4 = 45
- ´ÙÀÌÆú °øÁø±æÀÌ´Â ¾Æ·¡ Ç¥·ÎºÎÅÍ 0.475¥ë: 2¡¿(30+60) = 0.475¥ë ¡æ ¥ë = 379mm, f = 792MHz
Ç¥ L4.1 ´ÙÀÌÆú °øÁø±æÀÌ [Stutzman]

- ÇØ¼® Á֯ļö °áÁ¤: 400-1200MHz
2.2 ½Ã¹Ä·¹À̼Ç
1) ´ÙÀÌÆú
±×¸² L4.20(a)ÀÇ ¼öÁ÷ ¸ð³ëÆú¿¡ ´ëÀÀµÇ´Â ´ÙÀÌÆúÀ» ±×¸®°í ½Ã¹Ä·¹À̼ÇÇ϶ó. ´ÙÀÌÆú Áß½ÉÃàÀ» z Ãà¿¡ ÀÏÄ¡
a) ¾ÈÅ׳ª Çü»ó
b) ¹Ý»ç°è¼ö plot: Cartesian plot,
400-1200MHz, -30dB to 0dB
c) Áß½ÉÁ֯ļö = ( )MHz, ´ë¿ªÆø = ( ) MHz
d) ÀÔ·Â ÀúÇ×/¸®¾×ÅϽº plot
e) °øÁøÁ֯ļö = ( ) MHz, °øÁø½Ã ÀúÇ× = ( )§Ù
f) Gtheta 3D plot (°øÁø Á֯ļö¿¡¼)
g) max(Gtheta) = ( )dBi
h) Gphi 3D plot (°øÁø Á֯ļö¿¡¼)
i) max(Gphi) = ( )dBi
2) ¼öÁ÷ ¸ð³ëÆú
±×¸² L4.20(a) ¼öÁ÷ ¸ð³ëÆú¿¡ ´ëÇØ À§ °úÁ¤ ¹Ýº¹
3) ¿ª LÇü ¾ÈÅ׳ª
±×¸² L4.20(b) ¿ª LÇü ¾ÈÅ׳ª¿¡ ´ëÇØ À§ °úÁ¤ ¹Ýº¹
4) ¿ª FÇü ¾ÈÅ׳ª
±×¸² L4.20(c) ¿ª FÇü ¾ÈÅ׳ª¿¡ ´ëÇØ S = 2, 4, 8mmÀÎ °æ¿ì
a) ¾ÈÅ׳ª Çü»ó
b) ¹Ý»ç°è¼ö plot: µ¿ÀÏ ±×·¡ÇÁ¿¡ Cartesian plot, 400-1200MHz,
-30dB to 0dB
2.3 °á°ú¿ä¾à
Antenna f(MHz) for min (S11) ¥Äf(MHz) for |S11| < -10dB max(Gabs)(dB) Rin(ohm) at resonance
Have-wave dipole
Quarter-wave monopole
Inverted-L antenna